amaliya
воскресенье, 16 декабря 2012 г.
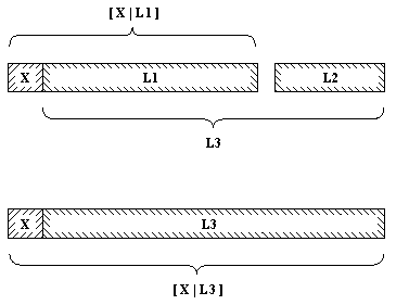
условный оператор пролог отсечение
условный оператор пролог отсечение
Комментариев нет:
Отправить комментарий
Следующее
Предыдущее
Главная страница
Подписаться на:
Комментарии к сообщению (Atom)
Комментариев нет:
Отправить комментарий